Site logo

诺和诺德(NVO.US)司美格鲁肽新适应症于中国申报上市

时间2026-03-03 20:37:03

诺和诺德

下载霸财智赢APP,买卖点即市预警,炒家心水交流 >>

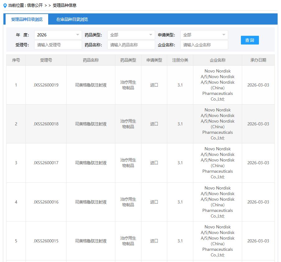
智通财经APP获悉,3月3日,CDE网站显示,诺和诺德(NVO.US)的司美格鲁肽申报新适应症。根据临床试验及监管申报进展,推测此次申报的适应症为代谢功能障碍相关性脂肪性肝炎(MASH)。

据悉,截至目前,司美格鲁肽在中国已获批4项适应症,包括:用于辅助饮食和运动以改善2型糖尿病(T2DM)患者的血糖控制;在控制饮食和增加体力活动的基础上,用于超重(初始BMI≥27kg/m2且<30kg/m2)或肥胖(初始BMI≥30kg/m2)且存在至少一种体重相关合并症的成人患者的长期体重管理;用于降低伴有慢性肾脏病的T2DM成人患者eGFR持续下降、终末期肾病和心血管死亡的风险;用于降低已确诊存在心血管疾病且BMI≥27kg/m2的成人患者的主要心血管不良事件(心血管死亡、非致死性心肌梗死、非致死性卒中)风险。

免责声明:本资讯不构成建议或操作邀约,市场有风险,投资需谨慎!